
MIL-F-62564(AT)
NOTES:
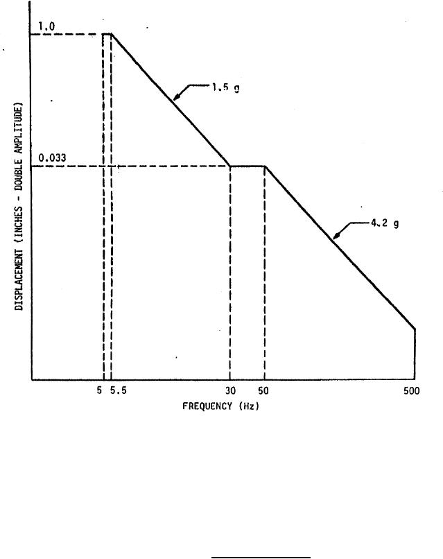
1. Acceleration levels: + g (peak).
2. The curve shall be extended to 2 Hz when test item resonances below 5 Hz
are expected.
FIGURE 1. Vibration test curve.
18
For Parts Inquires call Parts Hangar, Inc (727) 493-0744
© Copyright 2015 Integrated Publishing, Inc.
A Service Disabled Veteran Owned Small Business